2025年上半年已經結束,票據逾期情況依舊不容樂觀,且有愈演愈烈之勢。根據上海票交所發布的名單,2025年6月承兌人逾期名單上承兌人數量為889家,上海票交所將暫停這889家承兌人的票據承兌功能。6月持續逾期名單上承兌人有5165家,上海票交所將根據名單中的持續逾期開始時間算起,暫停其承兌、貼現、保證、質押等功能2年。

當上海票據交易所6月的名單悄然更新,這組刺目的數字讓金融圈徹夜難眠。承兌人逾期名單持續處于高位,這不僅僅是一組冰冷的數字,更意味著債務危機正在悄然爆發。商業匯票這一曾經被視為便捷的支付工具,如今儼然變成了讓企業深受其害的“傷票”。

上海票交所公布的名單顯示,截至2025年6月30日,承兌人逾期名單和持續逾期名單涉及77家發債城投,票據總逾期余額達30.71億元。

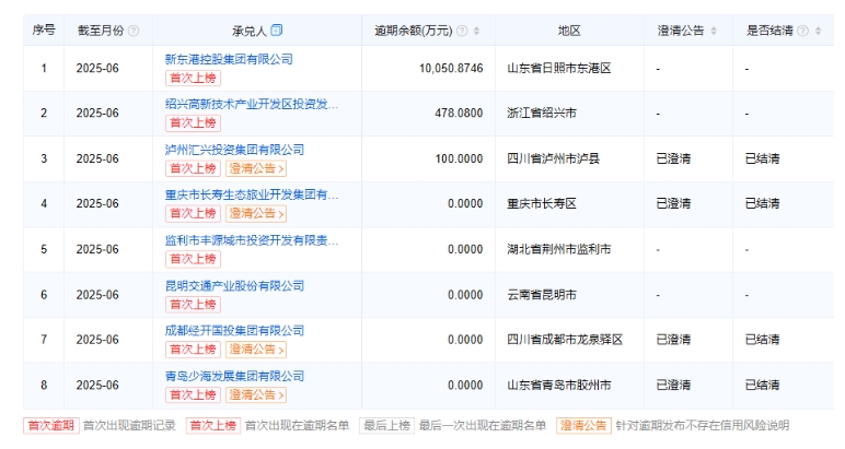
其中, 8家發債城投公司為首次上榜,分布在山東、浙江、四川、重慶、湖北、云南六省。新東港控股集團有限公司逾期余額為10050.8746萬元;紹興高新技術產業開發區投資發展集團有限公司逾期余額為478.08萬元。

從 2021年8月至2025年6月, 發債城投票據逾期記錄累計 1149條,涉及發債城投293家。從最新逾期金額來看, 93家發債城投達到1億元或以上,其中12家不低于5億元。全部逾期發債城投分布在24個省份,山東91家、江蘇38家、河南30家、貴州26家、湖南15家、四川15家、云南14家、陜西10家、重慶10家。
盡管部分涉眾債務的解決推動市場情緒局部修復,但歷史逾期金融債權疊加新增票據違約的持續發酵,使得相關區域的再融資與償債壓力并未得到緩解。 目前多地城投票據逾期規模持續走高,這一現象已成為全國化債攻堅戰的典型縮影,反映出地方城投平臺在資金周轉和債務償還方面面臨著巨大的挑戰,也凸顯了地方財政運行的壓力。

歷次逾期名單中,房建產業鏈企業往往位居前列,如建筑業、房地產、租賃等行業,其中還包括大量國企央企 , 中國建筑技術集團有限公司便是其中之一,其逾期余額為 75.93萬元,該 企業 2025年上半年票據逾期累計達6704.69萬元。

這一現象表明,地產行業一批又一批企業的倒下所帶來的連鎖反應還在繼續,下游很多配套企業都出現了不同程度的資金危機。在房地產行業狂飆突進的年代,房企理財曾是行業心照不宣的 “影子融資”工具。然而,隨著“三道紅線”政策落地、樓市降溫,房企資金鏈驟然緊繃,曾經引人注目的理財產品紛紛爆雷,背后是數以萬計投資者的血汗錢,以及房企在危機中的不同抉擇。
記者統計了 2025年1月1日至2025年6月30日,發生3次以上承兌人逾期的地產以及建筑行業承兌人名單,這些曾經風光無限的企業,如今卻淪為被人指指點點,或將走向倒閉之路的“危樓”。




除了房地產和城投,工業制造業領域也逐漸成為持續逾期名單中的 “新秀”。 汽車、紡織、機械、鋼鐵等 傳統 及新興行業都沒能逃出生天,甚至 不斷被爆出逾期爆雷的噩耗,產能過剩領域的債務問題正 在 全面爆發。
汽車行業,哪吒汽車的聯營企業合眾新能源汽車股份有限公司因 票據承兌逾期余額 2.23億元被列入名單。

截至 6月30日,吉利集團旗下子公司漢馬科技逾期余額為937.04萬元, 累計逾期發生額達 3.72億元。票交所已暫停其商業匯票承兌服務權限,企業須清償全部逾期票據并完成信用修復流程后方可申請恢復。

2025年上半年,廈門金龍的累計承兌發生額達到5.1億元,承兌余額為5.34億元, 而累計逾期發生額則為 1459.9萬元。上海票交所已暫停該公司的商業匯票承兌服務權限。

工程機械領域, 截至 2025年6月30日,邢臺歐菲機械累計逾期發生額為9.1億元, 逾期余額為 9.1億元。

據 3月份數據, 長江潤發(張家港)機械有限公司 累計承兌金額 3000萬元,全部逾期未兌付。更嚴重的是,其歷史累計逾期金額已高達 5.3億元,目前票據新增承兌為0.業務疑似全面停滯。

鋼鐵行業,知名企業山東泰山鋼鐵不幸 “淪陷”。 截止 2025年6月1日,山東泰山鋼鐵集團有限公司的商業 承兌匯票逾期余額已達 25.36億元,承兌余額為 26.48億元。

紡織行業,紅豆集團有限公司因連續 6個月內發生3次以上票據逾期,且存在月末逾期余額。票據逾期對企業融資鏈的負面影響具有傳導性,紅豆集團持有的無錫錫商銀行5500萬股權已于2024年9月被上海金融法院凍結,凍結股權僅占銀行總股本的2.75%。

更是風險重重, 在 2025年6月新增的逾期企業中,制造類企業有江蘇中清光伏科技、山東堅納維智能科技等,新能源(光伏、儲能)行業新增12家,反映出該行業現金流承壓。在持續逾期名單中,光伏行業企業占比超六成 。




